【导读】在智慧城市和工业 4.0 环境下,具有无线控制功能的 LED 照明系统的使用越来越广泛,因为它带来了诸多好处,包括降低能源成本(相应地减少碳排放)、照明水平可控,以及因 LED 灯具的更高可靠性和更长使用寿命而降低维护成本。为了实现最佳效果,这些 LED 照明系统需要具有各种操作模式、传感和?;すδ艿恼彰骺刂破鳎剐枰咝屎?90 至 300 伏交流电 (VAC) 的宽工作电压范围,以及高功率因数 (PF) 和低总谐波失真 (THD)。
在智慧城市和工业 4.0 环境下,具有无线控制功能的 LED 照明系统的使用越来越广泛,因为它带来了诸多好处,包括降低能源成本(相应地减少碳排放)、照明水平可控,以及因 LED 灯具的更高可靠性和更长使用寿命而降低维护成本。为了实现最佳效果,这些 LED 照明系统需要具有各种操作模式、传感和?;すδ艿恼彰骺刂破?,还需要高效率和 90 至 300 伏交流电 (VAC) 的宽工作电压范围,以及高功率因数 (PF) 和低总谐波失真 (THD)。此外,完整配置系统还需要微控制器 (MCU)、数据集中器和无线收发器。从头开始设计无线 LED 照明控制系统是一项多学科的任务,需要承担很大的风险,并可能延迟上市时间。
作为替代方法,设计人员可以使用预制的联网 LED 照明控制开发平台。这些平台具有高能效、高 PF,以及全面的无线控制功能(开/关、调光和其他模式)和多个独立控制的 LED 通道,提供最大的设计灵活性。此类平台包括支持低功耗蓝牙 (BLE)、Zigbee 和 6LoWPAN 等协议的无线通信模块。此外,开发环境也支持这些平台,包括可定制固件、Free RTOS 和各种用例。
本文首先回顾了基本的 LED 操作和灯具结构,以及衡量 LED 和灯具能效的指标。然后讨论了在智慧城市和工业 4.0 应用中使用分流器来最大限度提高灯具的可靠性和性能。最后,本文介绍了 STMicroelectronics 和 onsemi 的预制互联 LED 照明驱动和控制开发平台及相关组件,以及设计和部署方面的考虑因素。
智能 LED 照明控制主要是控制每个灯串的 LED 之间的交互,以优化灯具性能。它还包含智能电源转换,并扩展了功能以对多个灯具进行无线控制,包括硬件和软件,从而最大限度地提高街道照明和工业照明网络的性能。
典型的 LED 灯具包括多个串联在一个或多个灯串中的 LED。每个 LED 的驱动电压约为 3.5 V。一个灯串通常包含 10 至 30 个 LED,工作电压为 40 至 100 V,电流约为 0.35 至 1.0 A,具体取决于各个 LED 的亮度(图 1)。
图 1:用于智能灯具的两串各 16 个 LED 的灯串。(图片来源:Onsemi)
光源的亮度以流明 (lm) 为单位,其衡量人眼的视亮度,并考虑到眼睛对各种波长的可见光的敏感性。光源产生亮度的效率称为发光效率,测量单位为 lm/W。与其他常见的照明技术相比,LED 具有更高的发光效率。然而,并非所有 LED 都具有相同的发光效率,有些 LED 的发光效率明显高于其他 LED。此外,如果用更大的电流驱动,一个特定的 LED 可以产生更多的光。
LED 比其他照明技术更可靠,但它们并不完美。LED 可能会出现故障,特别是在高性能灯具中由大电流驱动时,例如那些用于街道照明和工业照明的 LED。LED 故障可能是短路或开路。如果灯串中的一个 LED 发生短路故障,该 LED 会变黑,但灯串中的其余 LED 继续工作。电流继续流经短路的 LED,使其加热到可以成为开路的程度,导致整个灯串变暗。
分流 LED
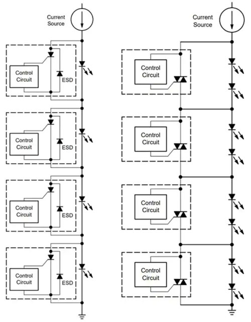
LED 灯具设计师面临着在更小的灯具中提供更高亮度的挑战。这往往需要 LED 在较高的温度下长期运行,可能导致 LED 故障。尤其是预计工作寿命长达 15 年的路灯灯具。旁路分流器有助于满足对更高工作温度和延长寿命的矛盾要求。当一个 LED 在开路状态下发生故障时,分流器会将该 LED 旁路,保持灯串正常运行,因此灯串不会变暗,只有发生故障的 LED 变暗(图 2)。
图 2:如果没有旁路分流器,单个 LED 的故障会导致整个灯串失效(左)。使用旁路分流器,只有故障的 LED 变暗,而灯串中的其余 LED 继续工作(右)。(图片来源:Onsemi)
根据灯具设计的需要,分流器可用于绕过一个或两个 LED(图 3)。如果一个 LED 发生故障,绕过每个 LED 可实现最小的亮度下降,而绕过两个 LED 可以将分流器的数量减少一半,适用于对成本更敏感的解决方案。例如,onsemi 的 NUD4700SNT1G 可用于旁路灯串中的单个 LED,如果 LED 恢复工作或被更换,该分流器将自动复位。STMicroelectronics 的 LBP01-0810B 可以旁路 1 个或 2 个LED,提高了设计灵活性并减少了零件数量。LBP01-0810B 还提供针对浪涌的过压?;?,符合 IEC 61000-4-2 和 IEC 61000-4-5 标准。
图 3:可用于旁路 1 个(左)或 2 个(右)LED 的 LED 分流器(虚线框内)可用。(图片来源:Onsemi)
智能街道照明
智能街道照明系统的设计人员可以借助 STMicroelectronics 的 STEVAL-LLL006V1 板来评估大功率 LED 照明的选择(图 4)。集成的 HVLED001A LED 照明控制器包括各种工作模式、传感和保护机制,并使用 STP21N90K5 MOSFET 构建了一个智能而高效的电源转换器。该 LED 驱动板使用 VIPER012LSTR 离线高压转换器 IC,提供 60 至 110 V 直流电输出,恒定电流为 0.7 A。为满足智能街道照明应用的需要,该驱动器的输入范围为 90 至 300VAC,PF 值超过 0.97,THD 低于 15%。嵌入式 SPSGRFC 亚千兆赫 (GHz) 收发器模块可用于接收开、关和调光命令,并将其发送到集成的 STM32L071KZ 微控制器。该收发器支持五级模拟调光。
图 4:STEVAL-LLL006V1 LED 照明开发板是集电源管理和无线连接于一体的平台的组成部分。(图片来源:STMicroelectronics)
开发工具
为了加快开发进程并突出 STEVAL-LLL006V1 评估板的功能,还提供了数据集中器单元 (DCU) 和 Android 移动应用程序。DCU 是在 NUCLEO-F401RE 平台上构建的集成评估环境。它包含一块 X-NUCLEO-IDS01A4 板,用于与 STEVAL-LLL006V1 进行亚千兆赫通信,还包含一块 X-NUCLEO-IDB05A2 板,用于与移动设备进行蓝牙通信。STMicroelectronics 还提供 6LoWPAN 智能街道照明移动应用,可用于组建智能街道照明控制器网,并评估网络功能。
工业 LED 照明
互联的工业 LED 照明解决方案可以使用 onsemi 的 LIGHTING-1-GEVK 互联照明平台进行原型设计。该开发平台具有无线控制功能,可选择使用离线 AC/DC 电源或可选以太网电源 (PoE)、LED 模块和 LED 驱动???,以及将所有??榱釉谝黄鸬?BLE 连接??椤?捎玫目刂蒲∠畎ㄊ褂?onsemi 的 RSL10 Sense and Control 移动应用或网络客户端。该开发平台包括 Free RTOS、带有可定制固件的 CMSIS-Pack 和几个用例,以开始探索使用互联工业 LED 照明解决方案。
基础的 LIGHTING-1-GEVK 套件包括一个双 LED 驱动器、带有两个 LED 灯串的 LED 板、一个 AC/DC 电源以及一个 BLE 通信模块(图 5)。另有一个 PoE 电源???,可提供高达 90 W 的电力。套件中各种板的一些关键规格包括:
· 双 LED 驱动器:包括两个 FL7760 LED 驱动器,每个驱动器提供高达 25 W 的功率,效率高达 96%;4,000 步调光,可调低至 0.6%;遥测数据,包括每个 LED 驱动器的电流和电压测量;以及一个可插拔 MCU ??榈慕油?,支持无线连接。
· LED 板:双独立通道,每个通道有 16 个 LED。一个通道的 LED 额定亮度为 121 lm,另一个通道的 LED 额定亮度为 95 lm,总可用亮度为 7,000 lm。
· AC/DC 电源:包括两个带 PFC 的 FL7740 初级侧调节反激式控制器,在 90 至 270 VAC的输入范围内工作,在 55 V 时输出 70 W 的电力,为 LED 驱动板供电,PF 值超过 0.99,效率超过 91%。
· BLE ??椋夯チ彰髌教ㄊ褂萌?BLE 服务;照明控制服务由连接的设备用于远程读取和更改 LED 的状态;遥测服务由连接的设备用于监测 LED 驱动器中的电压和电流;PoE 供电服务提供关于 PoE 供电器对设备施加的 PoE 功率限制的信息。
图 5:基础开发套件包括一个双 LED 驱动器、两个 LED 灯串、AC/DC 电源和一个 BLE 连接???。(图片来源:Onsemi)
扩展板
LIGHTING-1-GEVK 套件有两块扩展板,即 BLE-SWITCH001-GEVB 能量收集 BLE 开关,以及 MULTI-SENSE-GEVB 多传感器板(图 6)。LED 的亮度可通过 BLE 开关控制。按住开关时,亮度增加。松开开关或达到最大亮度时,光强度保持不变。再按一次开关,亮度就会降低。多传感器板支持包括环境光传感器、环境传感器和/或惯性运动传感器的系统原型开发。
图 6:LIGHTING-1-GEVK 套件有两个扩展板可用,一个是 BLE 开关,一个是多传感器板(顶部绿框)。(图片来源:Onsemi)
设计和部署选项
LED 路灯和工业照明灯具引发了照明网络设计和部署的重新思考。与通常被其取代的技术不同,LED 可调光,因而为设计智慧城市和智能工业 4.0 设施创造了机会,可整合各种因素,如交通/使用模式、当日时间,甚至还有一套传感器,以根据需要优化照明水平。
在智慧城市中,无线网状网络是自然的选择,而在工业 4.0 设施中,可以通过无线或以太网连接实现控制。以太网的好处是既能提供电力,又能实现通信。在这两种情况下,温度、湿度、甚至摄像传感器都可以集成到灯具中,以扩展其功能。此外,还可以监测灯具本身的运行状况,如内部温度、LED 短路或开路以及其他因素,以帮助安排预防性维护并降低运营成本。
总结
如上所述,设计可靠高能效的互联 LED 照明系统,要从灯具的设计开始。选择的 LED 需要能够提供最佳亮度水平,而使用分流器可以显著提高灯具的可靠性和性能。在智慧城市和工业 4.0 设施中使用有线或无线连接的 LED 照明,除了减少能耗,还能够降低持续的维护和运营成本。全面的开发平台可以帮助加快智能互联 LED 照明解决方案的设计和部署。
(来源:中电网,作者:Jeff Shepard)
免责声明:本文为转载文章,转载此文目的在于传递更多信息,版权归原作者所有。本文所用视频、图片、文字如涉及作品版权问题,请联系小编进行处理。
推荐阅读:
同步降压式DC/DC高效率的奥秘:我们通过几款产品解析,告诉你~







