中心议题:
- 开关电源电流模式的原理分析
- 开关电源电流模式的缺点
- 开关电源斜坡补偿的原理分析
1.引言
开关电源是利用现代电力电子技术,控制开关晶体管的导通和关断的时间比率,维持输出电压稳定的一种电源,它和线性电源相比,具有效率高、功率密度高、可以实现和输人电网的电气隔离等优点,被誉为离效节能电源M目前开关电源已经应用到了各个领域,尤其在大功率应用的场合,开关电源具有明显的优势。
开关电源一般由脉冲宽度控制(PWM)IC、功率开关管、整流二极管和LC滤波电路构成。在中小功率开关电源中,功率开关管可以集成在PWM控制IC内??氐缭窗捶蠢》绞椒治缪鼓J胶偷缌髂J健5缌髂J娇氐缭匆蚱渫怀龅挠诺愣玫搅丝焖俚姆⒄购凸惴旱挠τ?。但是电流模式的结构决定了它存在两个缺点:恒定峰值电流而非恒定平均电流引起的系统开环不稳定:占空比大于50%时系统的开环不稳定。
本文旨在从原理上分析传统电流模式的缺陷及改进方案,之后分析一个实用的斜坡补偿电路。
2.电流模式的原理分析
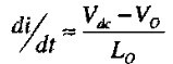
开关电源可以有很多种结构,但原理基本相似。图1是电流模式降压斩波fg(Buck)开关电源的原理图。它和电压模式的主要区别是增加了电流采样电阻R3和电流放大器IA. R3的阻值一般很小,以避免大的功耗。功率管Ql在每个周期开始的时候开启并维持一段时间Ton,通过滤波电感Lo对滤波电容C。充电、同时向负载提供电流,此时Lo上电流随时间的变化率为

电感电流到达一定值后功率管关断,二极管D1起续流和钳位作用。设DI的导通压降为VZ,则此时

RI和R2分压后和Vπf 比较并放大,变为信号VEA;同时R3两端的压降经IA放大后变为信号VIA,当VIA高于VEA时,相关控制电路将控制功率管关断,从而达到调节占空比的目的。通过实时地调节占空比,输出电压可以稳定在一个预先设定的值。上述工作过程的波形如图2,实线表示连续工作模式,虚线表示不连续工作模式,其中Clock表示时钟信号,VEA表示EA的输出,VIA表示IA的输出,IQ1是功率管的电流,ID1是二极管电流

[page]
电流模式由于采用了电压一电流双环控制显著改善了开关电源的性能,主要表现在:
① 根本消除了Push-pull开关电源存在的磁通量失恒问题磁通量失恒会减弱电感的承压能力,导致功率管电流不断增大并最终烧毁。电流模式在每个周期都限定功率管峰值电流,能彻底杜绝磁通量失恒.
② 电压调整率显著减小。当输人电压波动时图1中的电流检测电阻R3会立即检测到峰值电流的变化,快速调整占空比,使输出电压稳定
③ 简化了反馈电路的设计LC滤波电路在频率达到共鸣频率
后,相移会接近最大值180°,输人到输出的增益会随着频率的升高而迅速减小,这就增加了开关电源反馈电路设计的复杂程度在电流模式中,滤波电感的小信号阻抗几乎为零,这样就只能产生最大90,相移,增益随频率升高而下降的速度也减小为实际LC滤波电路的一半。因此反馈电路的设计可以大幅简化
④ 改善了负载调整率。在电流模式中,误差放大器的带宽更大,因而负载调整率更好。
3.电流模式的缺点
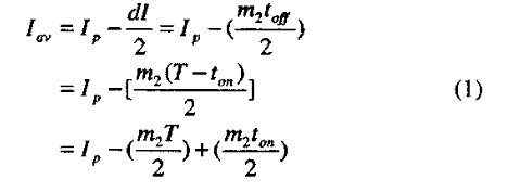
3.1恒定峰值电流引起的电感平均电流不恒定
电流模式的实质是使电感平均电流跟随误差放大器输出电压VEA设定的值,即可用一个恒流源来代替电感,使整个系统由二阶降为一阶。但在常用的峰值电流模式中,不同的占空比会导致不同的电感平均电流。这可以由平均电流的计算式看出:

其中Ip是峰值电流,dl是峰值电流和最小值的差值,T是时钟周期,ton和toff分别为功率管开启时间和关断时间
如图3所示,当由于某种原因使输人电压从Vdc1变化到Vdc2,电感电流的上升沿斜率将会变化(Vdc2-Vdc1)/Lo而下降沿斜率不变.占空比将从Dl变为D2,电感电流的平均值从Iav1变化到Iav2,这往往会导致输出电压在一段时间内振荡

3.2 电感扰动电流引起的输出振荡
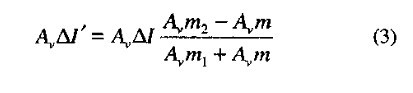
在输入电压不变的条件下,当由于某种外部原因使电感上的电流在一个下降沿结束时发生小的扰动AI,因为电流的上升沿和下降沿的斜率以及峰值电流都不变,所以在下一个周期结束后,这个扰动电流将被放大为

其中dt为发生扰动后导通时间的变化值,m1和m2分别为上升斜率和下降斜率。
[page]
从( 2)式可以看出,当占空比小于50%时,m2<m1,△I''''''''''''''''<△I,即一个周期后扰动电流减弱。但是当占空比大于50%时,m2>m1,△I''''''''''''''''>△I,即一个周期后扰动电流增强,如图4所示。这同样也会引起输出电压在一段时间内的振荡

4.斜坡补偿的原理分析
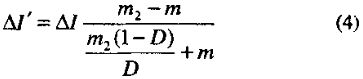
前面分析的两个不稳定情况实际上都是因为占空比改变引起了电感平均电流的变化,最终导致输出电压在一段时间内振荡,尤其当占空比大于50%时更加严重。如果能使系统在占空比足够大的时候才发生上述不稳定现象,就相当于解决了这两个问题。设图1中电阻R3上的压降为Vs,可以尝试在Vs上叠加一个斜率为m,且在时钟周期起点处等于零的电压,则经IA放大后相当于在信号VIA上叠加了一个斜率为Avm的电压。再设电感上有扰动电流AI,经IA放大为AvAI。由图5可以证明,经过一个周期后这个扰动电流的值变为


把m1D=m2(1-D)代入(3)式得

要使扰动电流在第一个周期就减弱,必须要有

(5)式表明,在斜坡补偿前,占空比达到50%后系统就开始不稳定,斜坡补偿之后,只要补偿斜率m满足式(5)的关系,系统始终是稳定的。
由此可见,只要能确定电感电流下降沿的斜率m2和占空比D,就有可能设计出合适的斜坡补偿电路,解决峰值电流控制型开关的输出振荡问题。
[page]
4.1 实际的斜坡补偿电路分析
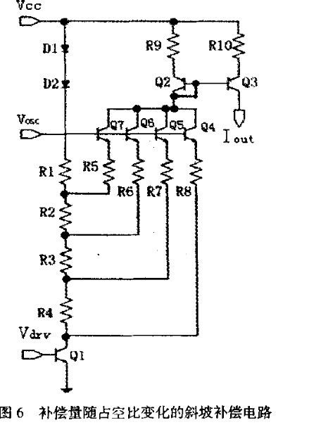
在电流模式PWM IC内部集成斜坡补偿电路要比理论分析复杂得多,因为在不同应用情况下,(5)式中的m2和D也会不同,所以很难对所有可能的情况作最好的补偿。由( 5)式 可以看出,开关电源稳定工作时占空比D和电感电流下降沿斜率m2越大,那么它所需的斜坡补偿的量也就越大。在连续工作模式中,D和m2都是由电路结构决定的。而在不连续工作模式中,D是随负载变化的量,m2是由电路结构决定的。根据这个原理可以设计一个补偿量随占空比增大而增大,并且能够适合一定范围的m的斜坡补偿电路,如图6。其中Vcc是较稳定的电压,约为2.3V,Vosc是PWM内部振荡器输出的锯齿波,最小值和最大值分别为0.6V和1.7V, Vdrv是功率管的栅极控制信号,Iout是斜坡补偿电流,输出到电流采样电阻(如图1中的R3)的正端,从而在采样电阻上叠加了一个电压降,达到斜坡补偿的目的。

钳位二极管DI、D2,分压电阻网络RI,R 2.R 3和R4共同决定了Q5, Q6和Q7的开启点当一个时钟周期开始时,Vdrv由低变高,Q1管导通,同时Vosc从最小值开始以一定的斜率上升Q4、Q5, Q6和Q7先后开启,这四个晶体管集电极电流的总和被由Q2, Q3, R9. R10构成的比例电流镜镜像后输出到Iout。
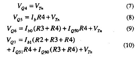
设NPN晶体管的开启阂值为VTn,D l和D2的正向导通压降都为VD, Ql的C-E结压降近似为零,则通过两个二极管的电流为

因此Q4, Q5. Q6. Q7的开启点分别为

其中Ib0、IQ50是Q6开启时的二极管和Q5的电流,Ib1、IQ51、IQ60是Q7开启时的二极管、Q5和Q6的电流。[page]
Q2 的集电极电流为上述四个晶体管的集电极电流总和:

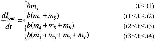
因为 Q4 ,Q5,Q 6和Q7是先后开启的,所以补偿电流在时间轴上的斜率dlout/dt将随着Vosc的增大而增大,即斜坡补偿的量随占空比增大而增大。
功率管的导通时间结束时,Vdrv由高变低,Ql关断,Iout随即降为零。这样可以减少不必要的系统功耗。
考虑不同应用情况下m2的变化范围,计算(5)式就可以确定m随D变化的曲线,再根据电流放大器IA的增益和振荡器锯齿波斜率计算可得各元件的尺寸。

图7是在选取了元件尺寸后计算机仿真波形。其中Vosc是理想化的锯齿波,Iout是输出的补偿电流,IQ4、IQ5、IQ6、 IQ7分别是Q4, Q5, Q6和Q7的漏极电流,可以看到,为了在占空比小于50%的时候系统更加稳定,Q4在每个周期开始时就已经开启,但是电流的斜率较小。随着Vosc以恒定的斜率上升,将先后在t1, t2, t3时达到Q5, Q6和07的开启点。设Q4, Q5, Q6, Q7开启后的电流斜率分别为m4, m5, m6和m7,

设电流采样电阻的阻值为RS,那么叠加在该电阻上压降的斜率为:
5.结论
本文分析了传统电流模式开关电源的工作原理及其优劣,从原理上解释了电流模式在占空比大于50%后输出不稳定的问题和解决的方法。在此基础上本文分析了一个实用的斜坡补偿电路结构并详细分析了其工作过程。通过HSPICE的仿真分析,得到了预期的结果,证明了该电路的可行性。





