中心论题:
- 超级电容填补了电池和普通电容之间的功率空隙。
- 目前音乐手机设计中的音频质量和功率问题。
- 利用超级电容改进的音乐手机设计。
- 超级电容带来显著的音频改善。
- 超级电容提供非常高的峰值电流提高功率。
- 升压转换器的线路稳压电路和超级电容滤除波纹。
- 采用含0.55F、85mΩ的双单元超级电容电路设计音乐手机。
- 每对扬声器跨接每个音频放大器使输出阻抗减小一半。
本文将讨论有关为带音乐功能的手机提供大功率和高质量音频的问题,并介绍超级电容(supercapacitor)如何能克服这些问题。这种超级电容还可以在不牺牲手机超薄外形的优势条件下实现大功率LED闪光摄影功能。
在问题展开讨论之前,先介绍一下超级电容及其在电源管理中扮演的角色。超级电容填补了电池和普通电容之间的功率空隙,它能提供比电池更高的触发功率,并能比普通电容存储更多的能量。超级电容可以为峰值功率事件(如GSM/GPRS射频突发发送、GPS数据读取、音乐播放、闪光照相和视频播放)提供所需的触发功率,然后接受电池的再充电。其好处包括延长通话时间、延长电池寿命、闪光更亮以及音乐质量更佳。设计师还可以藉此节省空间和成本,因为他们只需要考虑满足平均功耗的电池和电源电路即可,不必关注峰值负载。
目前音乐手机设计中的音频质量和功率问题
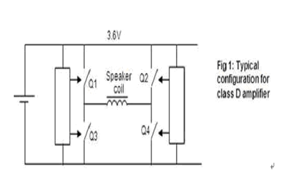
目前的移动电话通常使用D类音频放大器。这些放大器在一个H桥电路中采用了两对FET来控制扬声器线圈。配置如图1所示。Q1&Q4导通和Q2&Q3关断时向一个方向驱动扬声器线圈,Q1&Q4关断和Q2&Q3导通
时向相反方向驱动线圈。该电路的电源一般是3.6V的电池。带立体声音频的手机有一对放大器和扬声器。对8Ω的扬声器来说,最大音频功率= 3.6V2/8Ω = 1.6W,或立体声时为3.2W。在峰值立体声音频功率下的电池电流=3.2W/3.6V = 0.9A。因此这种情况下的音频播放可能会受到功率限制、失真和干扰的影响。
问题1:电池无法同时满足无线数据发送和音频放大器产生的峰值功率要求,结果将导致失真。
当用户用GSM/GPRS/EDGE手机欣赏音乐时,手机电池将无法同时提供峰值音频电流和峰值射频发射功率来响应网络访问。网络会周期性地访问手机以跟踪手机位于哪个蜂窝,并确定手机应该使用的发射功率。这种网络访问期间,在手机响应时音频放大器供电可能会下降,此时用户会听到一声“喀哒声”。不过,电池能够轻松提供约100mA到200mA的平均音频电流。
问题2:当峰值电池电流超过1A时会产生音频噪声/嗡嗡声,这将在音频放大器电源电压上产生明显的纹波。
如果电池组+连接器+PCB走线的总阻抗等于150mΩ,那么1A的峰值电流将在电源电压上产生150mV的纹波,1.8A的峰值电流产生270mV的纹波。电源电压中的这种纹波将给听者带来音频噪声。GSM/GPRS/EDGE发射时的峰值电流高达1.8A,因此也会产生音频噪声,在通话时用户会听到217Hz的嗡嗡声。
问题3:CDMA、GSM&3G手机中有限的音频功率和最差的低音响应。
不管是什么型号的手机,其音频能力和质量都取决于音频放大器的输出功率和扬声器的阻抗。在典型的手机配置中,两个D类放大器均在电池提供的3.6V电源下驱动一对8Ω的扬声器。如上所述,此时的最大音频功率为3.2W,峰值电池电流为0.9A。结果不管是通过手机的内部扬声器还是通过外部连接的扬声器/耳机提供的都将是浅薄、低功率的音频性能,低音响应性能非常有限。
图1:D类放大器的典型配置。
[page]
利用超级电容改进音乐手机设计
图2给出了另一种采用超级电容的电路方案,它可以解决上述所有问题,并提供四倍的峰值音频功率。CAP-XX HS206就是一种0.55F、85mΩ的双单元超级电容,它用于提供峰值功率,电池则提供平均功率。升压转换器将超级电容充电至5V。结果表现为:
立体声手机的峰值功率提高至2 x 5V2/8Ω = 6.25W,接近上述功率的两倍。另外,因为超级电容能够提供非常高的峰值电流,设计师可以使用4Ω的扬声器将峰值音频功率提高到12.5W,或4倍于最初的功率。
0.55F, 85mΩ的超级电容在提供持续10msec时间的12.5W峰值功率且峰值电池功率为1.8W(0.5A@3.6V)时,只产生200mV的纹波。
目前只能提供150mA到300mA的平均音频电流给超级电容充电的电池,也能在响应网络访问时提供峰值射频功率,同时不牺牲音频功率,故而在响应网络访问时用户不会听到“喀哒声”。
此外,由于射频发射而在电池电压上产生的纹波也不会反映到音频放大器上。这些纹波已被升压转换器的线路稳压电路和超级电容滤除了,从而彻底消除了217Hz的嗡嗡声。

图2:带有超级电容的D类放大器架构。
测试结果
为了测试超级电容带来的音频改善,我们建立测试装置。在该测试装置中我们建立了如图1和图2所示的电路,其中采用一对TPA2023D1来提供立体声音频通道:
在没有超级电容的情况下(图1),我们将音频放大器连接到3.7V的锂离子电池上,并驱动一对8Ω扬声器。
在有超级电容的情况下(图2),我们将电池连接到降压-升压转换器的输入端,并且将输入电流限制为250mA,输出设置为5V。然后将0.55F、85mΩ ESR的超级电容跨接在降压-升压转换器的输出端,并连接到图2所示音频放大器的电源输入端。同样驱动两对8Ω扬声器,每对扬声器跨接每个音频放大器,这样可以使输出阻抗减小一半,从而使扬声器总功率再加倍。在这样的装置下,我们对以下方面进行了测试:表现为低音节拍的大功率低音爆发;在听音乐时的进行网络访问,我们把它描述为1KHz的单音,目的是使超级电容带来的改善效果更加明显。




