【导读】在前期试验 电灯泡内通有交流电,为什么看不到灯泡在闪烁? 中所使用的小型荧光灯不慎灯管活动了。下面将它拆开,分析一下相关的电路设计。

基本拆解后的荧光灯泡
在电路板上可以看到有两个刚刚分析过的 高压小功率三极管 MFV13001 。这个电路也说明了这类的高压小功率开关三极管被大量使用的场合。
02荧光灯管
1.基本结构
荧光管实质上是一个连同的管道。

荧光灯管
2.两端灯丝参数
在冷的情况下,使用万用表,测量两端的灯丝的电阻大约11欧姆左右。
施加0 ~ 9V的直流电,可以观察到两端的灯丝被点亮。

灯丝电压与电流
volt=[0.0267,0.1214,0.2515,0.3824,0.5172,0.6560,0.7989,0.9435,1.0941,1.2410,1.3925,1.5414,1.6941,1.8479,2.0038,2.1517,2.2964,2.4428,2.5946,2.7501,2.9031,3.0619,3.2145,3.3672,3.5234,3.6831,3.8392,4.0270,4.1933,4.3243,4.4924,4.6604,4.8844,4.9898,5.1465,5.3118,5.4593,5.6314,5.7907,5.9493,6.0948,6.2258,6.3982,6.5737,6.7414,6.8811,7.0452,7.2017,7.3725,7.5202]
curr=[0.0017,0.0094,0.0200,0.0297,0.0384,0.0457,0.0523,0.0576,0.0623,0.0663,0.0700,0.0731,0.0764,0.0790,0.0817,0.0839,0.0860,0.0876,0.0901,0.0920,0.0939,0.0958,0.0975,0.0993,0.1009,0.1028,0.1042,0.1064,0.1079,0.1092,0.1109,0.1125,0.1151,0.1157,0.1171,0.1190,0.1199,0.1215,0.1229,0.1244,0.1256,0.1267,0.1282,0.1297,0.1312,0.1323,0.1336,0.1350,0.1363,0.1375]

不同电流下的灯丝电阻
需要说明的是,在开始的常闭由于灯丝温度是之前的预加热的,所以电阻有些变化的。
3.灯管高压击穿
使用在 高压测试平台:高压包产生高电压基本测试参数 高压平台测试灯管击穿电压。

灯管施加直流电压
v=[9.4532,18.6791,49.7863,85.3513,120.7534,156.6672,192.7292,229.1864,265.4262,301.4586,337.6589,373.6912,410.5140,446.6550,482.7467,518.4925,554.9201,590.6462,626.4612,214.7714,214.2774,213.1808,205.3756,204.6148,205.3163,205.1384,204.8420,205.1977,205.0989,205.1780,205.0298,204.8223,205.2175,204.9211,205.4546,205.7609,205.8893,206.1166,206.2549,206.3240,206.1363,206.4920,206.2351,206.3043,206.0672,206.1561,206.4228,206.5216,206.3833,206.4821]
c=[-0.4000,-0.4000,-0.4000,-0.4000,-0.4000,-0.4000,-0.4000,-0.4000,-0.4000,-0.4000,-0.4000,-0.4000,-0.4000,-0.4000,-0.4000,-0.4000,-0.4000,-0.4000,-0.4000,1232.7000,1354.9000,1472.7000,1614.6000,1731.2000,1837.6000,1948.2000,2053.1000,2156.8000,2260.0000,2362.0000,2464.0000,2572.0000,2693.0000,2822.0000,2951.0000,3094.0000,3233.0000,3367.0000,3502.0000,3634.0000,3763.0000,3882.0000,4005.0000,4132.0000,4256.0000,4353.0000,4505.0000,4626.0000,4749.0000,4847.0000]
4.空气中点燃灯丝
在操作的时候不慎灯管破裂了。取出灯管两端的灯丝,测试施加电压,在空气中观察对应的点亮的情况。
灯丝开始出现闪亮,随后黯淡下去。但是灯丝并没有完全氧化烧断。

施加+10V电压灯丝点亮的情况
使用5V加热灯丝??梢怨鄄斓缌鞯谋浠?。如果口对着灯丝吹气,加速灯丝散热,电流会有增加变化。这是因为钨丝的电阻和其温度有关系。
03驱动电路
1.实际的PCB

驱动电路板
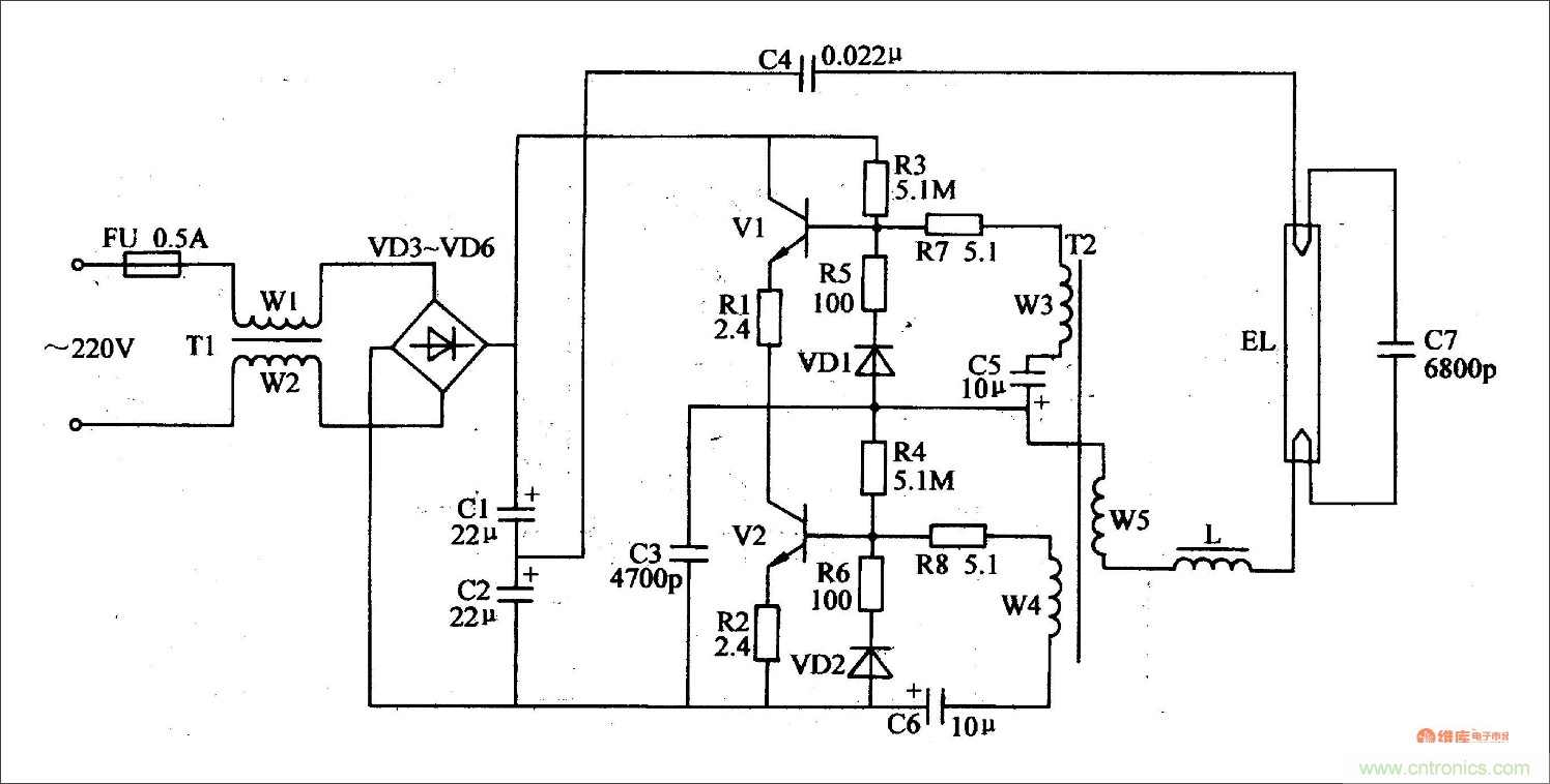
2.参考SCH

电路图参考图

荧光电子镇流器参考电路
3.主要器件参数
(1) 谐振电感电容
● 电感 L = 3.469mH
● 电容 C= 47.56nF
谐振频率:

这个频率与 电灯泡内通有交流电,为什么看不到灯泡在闪烁? 测量光强的变化对应的频率(10kHz)是相接近的。
结论
对于手中一个破损的小型荧光灯泡的分析和实验,获得以下数据:
● 灯管在灯丝冷的情况下可以被600V高压击穿;
● 灯管内部所使用的三极管通常使用13001,13002这类小型高压三极管进行推动振荡。
● 灯管是依靠LC谐振高压来驱动的。
原创:卓晴
免责声明:本文为转载文章,转载此文目的在于传递更多信息,版权归原作者所有。本文所用视频、图片、文字如涉及作品版权问题,请联系小编进行处理。
推荐阅读:





