如今在利用能量收集(或清理)的应用包括建筑物自动化系统、远程监视器/数字采集设备及无线传感器网络。由于能量收集并不依赖于传统形式的电源,它有两种关键的生态优势。首先,它不会导致任何化石燃料储备的耗??;其次,它不会增加污染等级(因为没有相应的碳排放或用后丢弃的电池)。除了免去绕线或线缆之需并因此提供便利性,对于原设备制造商(OEM)和系统集成商而言,这类应用的真正优势在于,一旦真正就位,它实际上不会产生日常运行成本,因而不会收到公用事业机构的账单或是成本高昂的替换电池上门服务等。
提取所要求的能量
可以采取多种方式来从环境中收集能量(取决于何种方式被证实最适合于特定应用背景),产生的功率等级通常在10 µW至400 µW区间。 采用的机制包括温差、动力学(主要通过振动运动)、太阳能、压电效应、热电效应及电磁。然而,可能除了太阳能外,有关能量采集是“免费”能量的认知并不是完全准确。其于振动或温度梯度的能源利用了大量源自系统的浪费能量。因此,须顾及维修及维护成本因素。

图 1 : 真实世界应用的功率范围
通过收集过程产生的能量可以用于多种方式,例如:
1. 开关(建筑物自动化) – 施加在开关上使其导通或关闭的机械力足以产生相当于数毫焦耳(mJ)的能量来运行无线收发器。这种方式发送射频(RF)信号来启动门锁或灯。这种方式由于不需要绕线,故提供后勤维护及审美上的效果。
2. 温度传感器(建筑物自动化) – 环境空气与加热器之间的温差能提供将温度数据以无线方式发送回给调节系统所需的能量。
3. 空调(建筑物自动化) – 空调导管的振动能用于通过电磁感应产生电气信号??盏骺梢酝ü诵藕爬纯刂啤?br />
4. 远程监控(工业/环境) – 其形式可能是无人值守气象台、化工厂的气体感测系统、海啸警示系统等。太阳能电池或小型风力涡轮机可以提供所要求的能量。
5. 医疗植体(保健) – 诸如血糖监测仪,此类应用中,热量或人体活动使置于病人皮肤上的低功率无线收发器能够将数据反馈至诊疗中心,而无需包含电池(因而提升病人的舒适度,并减少不便利体验)。
6. 手表(消费) – 太阳能或运动能量能用于支援无电池手表的工作。
7. 胎压监测(TPMS,汽车应用) – 使用表面声波(SAW)传感技术, 有可能规避因安装电池及在各个汽车轮胎上配合温度/压力传感器所需的复杂电子电路产生的问题,因而缩短物料单(BOM)成本及所需的工程资源。
[page]
系统设计考虑因素
由于要处理的能量仅为微瓦(µW)级,显而易见的是,采取一切可能的措施来最充分利用能量至关重要。工程师需要努力工作以避免浪费。这涉及到硬件及软件考虑因素,能够通过应用高能效的元器件及确保充分的设计优化来实现。至关重要的是,电子系统包含由智能电源管理组成的低压电路??赡芑剐枰悸堑侥芰看娲⑽侍?,因为这些系统工作的零散(sporadic)属性表示,在许多情况下,能量被采集的时间与能量后来被利用的时间之间没有直接关联。使用的存储方法必须采用低压工作,并带有大充电电流能力、适当的放电能力,以及很可能完全无自放电能力。处于系统核心的数字IC必须能够提供超足量的处理器性能,以承担系统工作,同时还要能够配合低压工作,从而不超过功率预算。此外,这数字IC的性价比必须足够高,使其应用不会太过于影响跟系统相关的总体支出,否则的系统的价格会太高,无法部署在前方论及的许多能量收集应用中。

图 2 : 谨慎利用可用能源
通常情况下,如果有需要增强性能等级、提供更大程度的优化或提高集成度,OEM就会考虑采取定制方法,从项目开始就与专用集成电路(ASIC)供应商合作。不利的是,这种方法并不总是可行,因为它要求大量的前期财务投资以支付一次性工程(NRE)成本,随后还必须有足够大的批量以收回投资。许多能量收集应用并没有足够大的批量来采取这种方法,但另一方面,在后续流程上仅是将现成元件布设到一起的工程师很可能无法将系统能效提升至最高。令情况更糟糕的是,开发过程很可能要求大量的时间和工程资源。
设计社群如今有了第三种选择,这种选择提供ASIC有利的技术属性,但又没有ASIC上投资及上市时间方面的缺点。这种方法结合了超低功率微控制器(MCU)及高能效、可随时定制和预定义的IC;这样的IC集成关键及必不可少的???,如采集接口及电源管理功能、传感器及智动器接口。Canova Tech的ETA平台就提供了这样一个实例。这种新的开发套件基于安森美半导体的LC87F7932超低功率MCU和Canova Tech的ETA平台,为工程师提供获得业界证明、可以被定制(硬件及软件)的开发套件,以满足特定应用要求,因而增强系统的功率/性能特性。ETA平台完全可配置,能够连接及匹配市场上大多数能量采集器,处理高于0.9 V的直流 及交流输入电压,或者在使用外部变压器的条件下,处理大于数十毫伏(mV)的电压。收集的能量能够采用不同存储元件来传递/存储,如化学电池、电容及超级电容。通过存储元件,系统能够有效地管理积累的能量,而无论采用的是哪种不规则的提供模式,使系统能够应用省电策略,如使用嵌入式超低功率可配置模拟前端,此前端能够进行系统传感器信号的采集和调理,而无须外部MCU的监控。

图3 : ETA平台的框图及布线图。
[page]
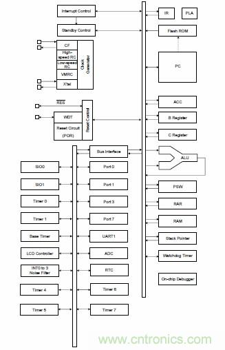
LC87F7932B MCU是一款采用CMOS技术的8位器件。它包含以250 ns(最小值)总线周期时间工作的中央处理器(CPU)。这IC集成了32 KB板上可编程闪存、2,048字节RAM、片上调试器、LCD控制器/驱动器、16位定时器/计数器及实时时钟。它的12位7通道低功率模拟数字转换器(ADC)在前端完成了信号调理后,转换采集到的信号。然后,此数字信号能够以无线方式传输或存储,用于根据应用来在后续段提取。

图4 : 选择的有源模块示例(红色)
总而言之,能量采集系统的设计涉及到多种重要障碍及挑战。工程师需要尽可能多地提升处理性能,同时将总体功率预算保持在最低等级,而且在可能被证实对成本极敏感的应用中不大幅增加支出。必须竭尽所能,使用最优的元器件,并确保完全理顺开发过程。通过使用本文详细介绍的基于超低能耗MCU架构和可配置及可定制器件的开发平台,工程师能够克服这些障碍,并因而提供更有效的方案。

Canova Techs ETA平台

安森美半导体LC87F7932B MCU的功能框图





