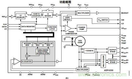
所有片内寄存器均通过简单的三线式接口进行控制。 该器件采用3.0 V至3.6 V电源供电,不用时可以关断。功能图如下,懂锁相环的请仔细品读。不懂的可以直接忽略掉,这里楼主我用它来产生一个高频的信号去调制一个低频的信号源,然后让这信号去充当一个很高大上的东西的时钟,这里产生的信号时1G。

图1:功能框图
这个片子内部资料原理可能需要去仔细品读。但是时序却是普通的SPI。一般人都能把他写出来。但是这里仔细看PDF会发现有BUG。我始终只看到write operation。 却没有发现有read operation,可能是自己对于SPI不够很深入的了解吧?;蛘逷DF根本没有给出如何去read。看时序你就发现。

图2:SPI时序图
另外此chip有6个寄存器,分别可以设置他的相关参数。包括reference、vco的分频以及power。这里可以在官网下载一个关于4350的soft。只需把需要的参数输进去,寄存器能够自行进行配置。原理图如下:

图3:原理图
这里采用的MCU为MSP430 LAUNCHPAD.4线控制。分别为:clk,data,le,pd.LD是锁定脚。如果频率没有锁定此脚会输出低电平。只有锁定了才会输出高。所以调试时候下载程序之后可以先检测这脚是不是为高。这里这个很重要。另外晶振采用的10M。有源的。不能太高,太高了当时用的一个12V恒温晶振效果没出来(这里可能不是那个恒温晶振的问题,可能也是那板子的问题)。
调试心得:一般的示波器看不到波形的,这个输出最低200M,示波器的采样率一般也就1G或者2G。是不能看到200M及1G的信号的,我用的那个就是60M的。当时还以为又出问题了。为何LD锁定了输出高电平但是却看到的信号始终为0,后来不知怎么的突然看到示波器上面的标注。才想起用的频谱仪!下面是频谱仪的图片。

图4:频谱仪
相关阅读:
ADF4350:ADI内置片上低噪声VCO的锁相环
泰克推出发射器和接收器一致性与调试测试套件
养成使用示波器的好习惯,调试神马的都是小case




