【导读】LoRaWAN是在具有广域、远距离、低速、低耗电量等特点的LPWA(Low Power Wide Area)无线通信中,利用不需要无线局许可证的非授权频段(Sub-GHz频带)的规格。LoRaWAN是一种非蜂窝LPWA,由非营利组织LoRa Alliance制定,并经国际电信联盟[ITU]批准后于2021年12月成为国际标准。
1. 什么是LoRaWAN?
LoRaWAN是在具有广域、远距离、低速、低耗电量等特点的LPWA(Low Power Wide Area)无线通信中,利用不需要无线局许可证的非授权频段(Sub-GHz频带)的规格。LoRaWAN是一种非蜂窝LPWA,由非营利组织LoRa Alliance制定,并经国际电信联盟[ITU]批准后于2021年12月成为国际标准。
LoRaWAN是一种无线网络系统,它通过将一台或少数网关与配备多个LoRaWAN??榈闹斩松璞噶永词褂谩4舜Φ闹斩松璞甘侵缚刂浦斩擞τ茫ɡ?,普通照明和摄像头等的传感器)的通信终端。
LoRaWAN不需要运营商的通信网,允许用户在自己的公司构建和运营网络,由于其不受用途和业务规模的限制,易于引入,所以用户数量逐年增加。
1.1 LoRaWAN与蜂窝LPWA
LoRaWAN是一种非蜂窝LPWA标准,同与运营商签订合同后使用线路的蜂窝LPWA相比,它可以降低运营成本。此外,也不需要考虑其使用场所能否与运营商的基站进行稳定的通信。
而且,由于它也可构建公司自己完全独立的网络环境,因此可以实现私密且安全的无线通信环境,不需要通过外部公司的线路。
关于蜂窝LPWA与非蜂窝LPWA的规格比较,请参考前文:什么是LPWA(Low Power Wide Area)无线通信 - 基础篇。
1.2 LoRaWAN的主要用途
主要用途有生活基础设施中的智能仪表、智能城市、智能建筑、公共交通智能化、制造业物联网化、基于物流货物和人员的位置信息的跟踪、环境传感、智能农业等。与蜂窝LPWA不同,它不受运营商的服务区域限制,并且可以以相对较低的成本进行运营,因此作为一种适用于多种领域的物联网和M2M的无线通信方式在全球范围内受到的关注程度越来越高。
我们将在本文的“后篇”介绍一些使用LoRaWAN的事例(敬请期待?。?/p>
2. LoRaWAN的通信协议栈
在许多情况下,通过查看已实现的通信协议栈可以了解该通信方法的特征。
无论是无线还是有线,电气通信都是通过按照通信协议来发挥作用的。关于什么是通信协议,请参考前文:无线通信的基础知识-无线机制。
下表给出了LoRaWAN模型和OSI参考模型中通信协议栈各层的作用和对应关系。OSI参考模型是协议栈的国际标准模型。目前,该模型的协议栈并未被原封不动地使用,但它是一个参考模型,是协议栈的基础,因此经常被用来与设备中实现的多种协议进行比较。
表:OSI参考模型和各层的作用、LoRaWAN模型
从上表可以看出,LoRaWAN模型的栈有3层,而互联网通信协议——TCP/IP模型有4层,因此,LoRaWAN模型的协议构成更简单。这使协议更新更加容易并有助于缩短响应时间。
下图显示了LoRaWAN的通信协议栈。在此,我们将对LoRaWAN的协议栈以及LoRa和LoRaWAN各自在协议中的含义和作用等进行说明。
LoRaWAN的通信协议栈
2.1 什么是LoRa(物理层)?
位于上图底部物理层的LoRa是Long Range(远距离)的缩写,指的是由美国的SEMTECH公司基于频谱扩散的一种——CSS(Chirp Spread Spectrum)开发的无线调制方式。
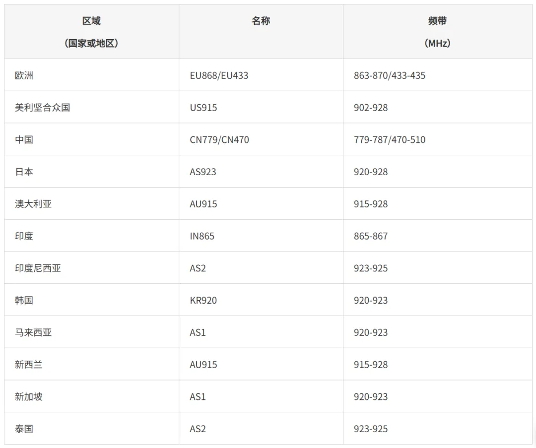
此外,LoRa的ISM频段如下表所示是按国家和地区分别设定的。( ISM频段是由国际电信联盟(ITU)制定、不需要许可证即可在工业(Industry)、科学(Science)和医疗(Medicine)等领域使用的频带。ISM频段当中有全球通用的和按区域(国家和地区)划分的ISM频带,LoRa被设定为后者。)
表:按区域(部分)划分的LoRa频带
2.2 什么是LoRaWAN(MAC层)?
MAC是Media Access Control的缩写,中文也称为媒体访问控制,它在分层通信协议中除了定义和分配识别设备的MAC地址之外,还对控制信号发送时间段、分割发送数据、组装(发送)和分解(接收)添加目的地地址等控制数据后的帧、错误检测等规定了方法。
MAC层的LoRaWAN是非蜂窝LPWA的标准名称,同时也指LoRaWAN网络的通信协议(通信中的约定)。 在LoRaWAN中,终端设备没有IP,而是使用MAC(设备ID)连接到网关并进行无线通信。
此外,MAC选项有Class A / Class B / Class C,它们在终端设备和网关之间的双向通信中具有不同的上行和下行通信方案和间隔,与耗电量相关的设备侧接收槽的打开/关闭动作等也不一样。
3. 构建LoRaWAN网络
构建LoRaWAN网络,该如何配置LPWA设备、网关、服务器等?
LoRaWAN是一种非蜂窝LPWA标准,因此它不像蜂窝LPWA设备的无线通信那样使用运营商的基站和通信网。
在LoRaWAN中,数据通信在终端设备(配备了LoRaWAN模块的传感器等)与支持LoRaWAN的网关之间以无线方式进行。数据通过该网关传输到通信协议与LoRaWAN不同的网络服务器、应用服务器等。
下面,我们将介绍使用LoRaWAN构建的主要网络事例。
3.1 自制LoRaWAN网络
非蜂窝LPWA不需要无线局许可证,因此也可以通过公司自己准备配备了LoRaWAN??榈闹斩松璞?,再加上支持LoRaWAN的网关、网络服务器、应用服务器等来构建系统。
自建自营的LoRaWAN网络构建事例
如上图所示,其优点是可以通过公司自己构建和运营整个环境来使用私密且安全的无线解决方案。此外,各服务器可以部署在本地(公司内部环境),也可以利用公司签约的云服务器。
3.2 利用运营商的LoRaWAN网络
在只使用一段时间或者公司内部没有与SI和网络相关的人才等不适合由公司自己构建LoRaWAN环境时,也可以利用销售或出租的支持LoRaWAN通信协议的网关,或利用提供云服务等的运营商。
利用运营商服务的LoRaWAN网络构建事例
如上图所示,在某些情况下,支持LoRaWAN的网关、网络服务器以及某些情况下的应用服务器也是在与运营商签订付费合同后使用的。服务内容因运营商而异,但可以将网关的引入和服务器维护等全部委托给运营商可以说是其优点之一。
此外,支持LoRaWAN的网关能与多台设备连接和通信,网关可专门供签约用户使用,也可通过由多个签约用户共用来降低使用费用。
此外,除了网关之外,一般都会提供云服务。如果签订网关或服务器合同,将按月收取费用。然而,与因使用手机通信网而需要与运营商签订合同的蜂窝LPWA相比,一般认为非蜂窝LPWA式LoRaWAN的网络服务器运营商等收取的服务费更低。
预告
我们将在“LoRaWAN(非蜂窝LPWA)入门 - 事例篇”介绍具体的物联网使用事例,比如:
使用LoRaWAN的物联网解决方案事例:防灾系统、智能农业、智能仪表等;
使用LoRaWAN的太阳能发电设施的智能化。
以及村田制作所的LoRaWAN??榈奶氐愫筒氛笕荨?/p>
文章来源:Murata村田中国
免责声明:本文为转载文章,转载此文目的在于传递更多信息,版权归原作者所有。本文所用视频、图片、文字如涉及作品版权问题,请联系小编进行处理。
推荐阅读:




