桃花源qm花论坛(品茶),凤楼阁论坛官网入口网址,一品楼品凤楼论坛最新动态,风楼阁全国信息2024登录入口

你的位置:首页 > 互连技术 > 正文

试一试能快速实现高性价比的电路?;さ膃Fuse

发布时间:2023-12-14 来源:德州仪器 责任编辑:lina

【导读】随着电子设备在家庭、办公室和工业中的普及,对高速、紧凑、低成本、可复位和可调节电路保护器件的需求越来越重要,以确保用户安全和最长的正常设备运行时间。传统熔断方法的熔断电流不准确、响应时间慢,而且通常保险丝更换不方便。


随着电子设备在家庭、办公室和工业中的普及,对高速、紧凑、低成本、可复位和可调节电路?;て骷男枨笤嚼丛街匾匀繁S没О踩妥畛さ恼I璞冈诵惺奔?。传统熔断方法的熔断电流不准确、响应时间慢,而且通常保险丝更换不方便。


虽然从头设计一个合适的?;し桨甘强梢缘?,但要在可重置的设备中满足苛刻的延迟和精度要求并非易事。此外,同样的解决方案现在也有望具备可调过流?;ぁ⒖傻骼擞康缌餮拱诼?、过压钳位、反向电流阻断和热?;さ裙δ?。这种设计需要大量的分立元件和数个 IC,这样不仅会占据 PC 板的上很大面积,提高成本,还会延迟上市时间。不断增加难度是为了满足高可靠性要求,满足诸如 IEC/UL62368-1 和 UL2367 等国际安全标准要求。


为此,设计人员可以转向使用电子保险丝 (eFuse) IC 来提供纳秒 (ns) 级短路?;?,这比传统的保险丝或 PPTC 器件要快一百万倍。


本文在介绍 eFuse 及其工作原理之前,说明为什么需要更快速、更坚固、更紧凑、更可靠和更经济的电路保护。然后,介绍 Toshiba Electronic Devices and Storage Corporation 提供的几种 eFuse,并说明这些器件在经济实惠、结构紧凑和坚固耐用方面是如何满足设计者的电路?;ば枨蟮摹?/p>


电路?;ば枨?/p>


过电流状况、短路、过载和过电压是电子系统的一些基本电路?;ば枨蟆9髯刺?,会有过量的电流流经导体。这可能会导致高水平发热、火灾或设备损坏的风险。短路、过载、设计故障、部件故障以及电弧或接地故障都可能造成过流故障。为了?;さ缏泛蜕璞赣没?,过流?;ば枰彩倍?。


存在过载时,过大的电流不会立即产生危险,但长期过载造成的后果与高过流同样不安全。过载?;な歉莨爻潭韧ü髦质奔溲映倮词迪值?。随着过载情况的加重,延迟会随之缩短。过载?;た梢杂醚映倩蚵俦O账坷词迪?。


过电压情况会导致系统运行不稳定,还可能导致产生过多热量,增大火灾风险。过电压也会给系统用户或操作员带来直接危险。与过电流一样,过压?;ひ残枰焖俣?,切断电源。


为确保运行安全、稳定,有些应用受还益于除基本?;すδ芤酝獾钠渌;すδ?,具体包括可调级别的过压和过流保护、启动涌流控制、热?;ず头聪虻缌髯瓒瞎δ?。各种不同的电路?;ぷ爸每梢月阏庑┍;すδ艿牟煌楹闲枨?。


eFuses 如何工作


与传统保险丝和 PPTC 器件相比,eFuse IC 实现了更广泛的保护功能和更高的控制水平(图 1)。除高速短路?;ね猓琫Fuse 还提供精确的过压箝位、可调过流?;?、可调电压和电流压摆率控制,以便尽可能减少浪涌电流和热关断。各个不同的版本还包括内置反向电流阻断功能。


试一试能快速实现高性价比的电路?;さ膃Fuse

图 1:eFuse 可以取代传统保险丝或 PPTC 设备,并具有更多的?;すδ芎透叩目刂扑健#ㄍ计丛矗篢oshiba)


eFuse 性能的关键因素之一是内部功率 MOSFET,其“导通”电阻通常在毫欧 (mΩ) 范围内,并能处理高输出电流(图 2)。正常工作期间,功率 MOSFET 的极低导通电阻确保 VOUT 端电压与 VIN 端电压几乎相同。当检测到短路时,MOSFET 会非常迅速断开,而当系统恢复正常时,MOSFET 则用来控制浪涌电流。



试一试能快速实现高性价比的电路保护的eFuse


图 2:低导通电阻功率 MOSFET(顶部中心)是 eFuse 实现快速动作和受控启动能力的关键。(图片来源:Toshiba)


除了功率 MOSFET 之外,eFuse 的有源性质也有助于实现众多的性能优势(表 1)。传统保险丝和 PPTC 是无源器件,跳闸电流的精度很低。它们都依靠焦耳加热且耗费时间,从而增加了其反应时间。另一方面,eFuse 会不断监测电流,一旦电流达到可调限流值的 1.6 倍,就会启动短路?;?。一旦启动,eFuse 的超高速短路保护技术只需 150 至 320 纳秒即可将电流降至接近零,而保险丝和 PPTC 的反应时间则为 1 秒或更长。这种快速反应时间减少了系统应力,从而增强了稳健性。由于 eFuse 电子保险丝不会被短路破坏,因此可以多次使用。


试一试能快速实现高性价比的电路?;さ膃Fuse

表 1:与保险丝和 PPTC(聚合开关)器件相比,eFuse IC 的保护速度更快、精度更高、?;すδ芨#ū砀窭丛矗篢oshiba)


与作为一次性设备的传统保险丝相比,eFuse 有助于降低维护成本,缩短恢复和维修时间。eFuse 有自动恢复和锁定?;ち街止收匣指捶绞剑呵罢呤窃诠收咸跫笞远指凑T诵?,后者是在故障消除后被施加外部信号时恢复。eFuse 还提供过压和热?;?,这对传统保险丝或 PPTC 来说是不可能的。


选择 eFuses


选择合适的 eFuse 通常要从应用的电源轨开始。对于 5 至 12 伏电源轨,TCKE8xx系列 eFuse是不错的选择。该系列的额定输入电压高达 18 V,电流 5 A,通过了 IEC 62368-1 认证,符合 UL2367 要求,采用 WSON10B 封装,尺寸为 3.0 mm x 3.0 mm x 0.7 mm 高,间距为 0.5 mm(图 3)。


试一试能快速实现高性价比的电路?;さ膃Fuse

图 3:Toshiba 的 eFuses 采用 3 mm x 3 mm、0.7 mm 高的 WSON10B 表面贴装封装。(图片来源:Toshiba)


对于设计者来说,TCKE8xx 系列提高了灵活性,包括由外部电阻设置调节过流值、由外部电容设置调节压摆率控制,提供过压和欠压保护、热关断功能以及一个针对选用型外部反向电流阻断 FET 的控制引脚。

设计者还可以选择三种不同的过压钳位:用于 5 V 系统的 6.04 V 钳位(例如 TCKE805NL, RF),用于 12 V 系统的 15.1 V钳位(包括 TCKE812NL, RF),以及无钳位电压(例如 TCKE800NL, RF)(图 4)。根据不同的型号,过压?;し治远厥院颓涣街址绞?,钳位水平的设定精度为 7%。欠压锁定可通过一个外部电阻设定。热关断可在 eFuse 的温度超过 160℃ 时将其断开,从而保护 IC 免受超温影响。具有自动恢复热保护的型号在温度下降 20°C 时重新启动。




试一试能快速实现高性价比的电路?;さ膃Fuse

图 4:TCKE8xx 系列电子保险丝包括多种型号,钳位电压为 6.04 V 的 TCKE805 适用于 5 V 系统,钳位电压为 15.1 V 的 TCKE812 适用于 12 V 系统,而 TCKE800 则没有钳位电压。(图片来源:Toshiba)


为确保稳定运行,这些 eFuse 具有供设计者在启动时设置电流和电压斜率的选项(图 5)。当接通电源时,巨大的浪涌电流会流入输出电容并使 eFuse 跳闸,从而导致运行不稳定。eFuse 的 dV/dT 引脚上的外部电容器可用来设定电压和电流的启动斜坡,以防止出现无跳闸。


试一试能快速实现高性价比的电路?;さ膃Fuse

图 5:设计者可以设置电压和电流的启动斜坡,以确保eFuse 稳定运行。(图片来源:Toshiba)


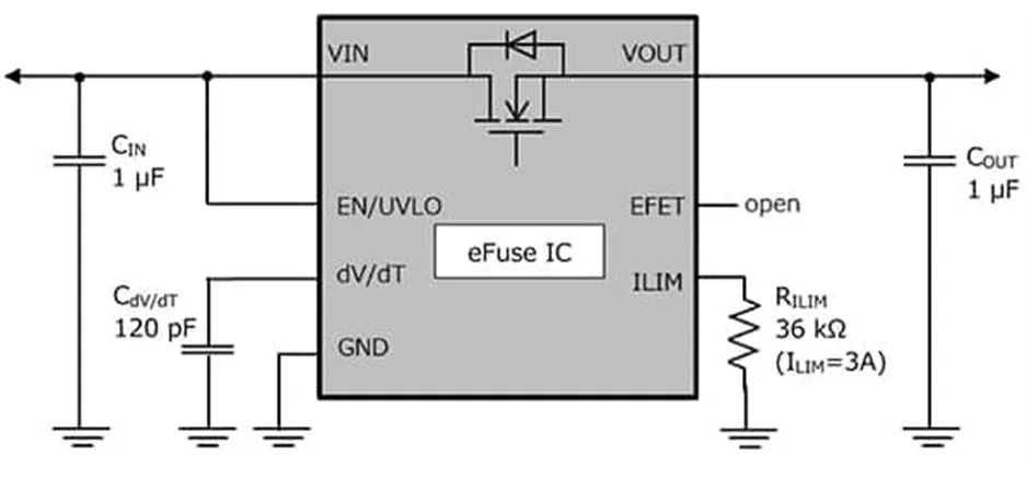
根据应用要求,设计者可以添加一个外部 N 沟道功率 MOS,用于阻断反向电流;添加一个瞬态电压抑制 (TVS) 二极管,用于输入瞬态电压?;ぃ惶砑右桓鲂ぬ鼗评荻?(SBD),用于 eFuse 输出的负电压尖峰?;ぃㄍ?6)。反向电流阻断在热插拔式磁盘驱动器和电池充电器等应用中非常有用。外部 MOSFET 通过 EFET 引脚控制。

在电源总线上会出现超过 eFuse 最大额定值的瞬时电压的系统中,需要添加 TVS 二极管。在有些应用中,eFuse 的输出端可能会出现负电压尖峰,而选用型 SBD 可以?;じ涸夭嗟?IC 和其他设备以及 eFuse 本身。Toshiba 推荐将 SSM6K513NU, LF 作为外部 MOSFET,DF2S23P2CTC, L3F 作为 TVS 二极管,而 CUHS20S30, H3F 作为 SBD。



试一试能快速实现高性价比的电路?;さ膃Fuse


图 6:TCKE8xx 系列 eFuse 的典型应用显示了用于输入瞬态电压?;さ目裳?TVS、用于输出引脚负电压尖峰?;さ?SBD 以及用于阻断反向电流的外部 MOSFET。(图片来源:Toshiba)


内置反向电流阻断 MOSFET 的 eFuse


对于要求解决方案尽可能小且具有反向电流阻断功能的应用,设计者可以使用具有两个内部 MOSFET 的 TCKE712BNL, RF eFuse(图 7)。第二个内部 MOSFET 没有任何性能损失;两个 MOSFET 的合并导通电阻只有 53 mΩ,与使用外部阻断 MOSFET 时差不多。


试一试能快速实现高性价比的电路?;さ膃Fuse

图 7:TCKE712BNL, RF eFuse 包括两个 MOSFET(顶部中间),可实现反向电流阻断,无需外部 MOSFET。(图片来源:Toshiba)


与 TCKE8xx 系列的固定电压设计相比,TCKE712BNL, RF 的输入电压范围为 4.4 至 13.2 V。为了支持这种可能的输入电压范围,该器件有一个过压保护 (OVP) 引脚,使设计者能够设置过压?;に?,以适应特定的系统需求。此外,TCKE712BNL还增加了一个 FLAG 引脚,用于提供开漏信号输出,表明存在故障状况。


结语


确保电子系统的电路和用户?;すδ苤凉刂匾谀壳吧璞讣ぴ?、故障可能性增加的情况下尤其如此。同时,设计者必须将成本和封装降到最小,同时还要具有最大的?;ち榛钚?,满足适当的保护标准。


eFuse具有超快的动作速度、出色的精确性、可靠性和可重复使用性。这类器件性能优良、高度灵活,不仅成为传统保险丝和 PPTC 器件的替代品,而且还具有多种内置功能,可大大简化电路和用户保护的设计工作。

(作者:Jacob Beningo,来源:得捷电子DigiKey微信公众号)


免责声明:本文为转载文章,转载此文目的在于传递更多信息,版权归原作者所有。本文所用视频、图片、文字如涉及作品版权问题,请联系小编进行处理。


推荐阅读:

千兆多媒体串行链路(GMSL)相机用作GigE Vision相机的替代方案

解决角雷达系统的 3 大电源设计挑战

超声技术在医疗领域的发展趋势和应用

一文读懂:为什么碰撞检测是协作机器人的底层技术

意法半导体推出车规人工智能惯性测量单元,适合环境温度高达125°C的始终感知应用


特别推荐
技术文章更多>>
技术白皮书下载更多>>
热门搜索
?

关闭

?

关闭