甲类功放不存在交越失真,音频信号可以完整地传输。一部甲类功放,输出功率是多少?功率损耗是多少?这些都是甲类功放制作的前期理论计算。本文详细介绍推挽式甲类功放的输出功率及损耗的分析及计算。
甲类功放的组成
甲类功放多采用NPN与PNP配对的推挽式工作方式。推挽式甲类功放电路,可以看成是由2个单管式甲类射极器组成。
正电源的NPN管与负电源的PNP管分别工作于甲类状态,对整个音频信号进行放大。输出到音箱。
甲类功放的工作原理
推挽式甲类功放在进行组装调试前一定要知道,做多大的功率?需要多大静态电流?供应电流是多少?损耗是多少?这方面的资料难寻。有些生产厂家在甲类功放上标示的功率是不是真有这么大?购买者都想核实。如何达到以上目标呢?
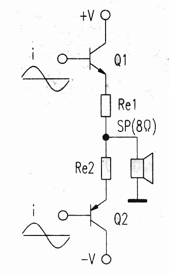
这就需要对推挽式甲类功放进行理论分析。图1是甲类推挽式功放输出电路,这个输出电路可以分解成图2。

图1 甲类推挽式功放输出电路 图2 输出电路分解图
从图2可知,喇叭所获得的电流是由NPN和PNP三极管分别提供的。NPN功放管和PNP功放管输入的音频信号极性是相同的。
甲类功放的输出功率计算
甲类工作状态就是三极管在工作时任何时候都有电流。不论驱动近年来,许多人以低价销售安装中星6B的C波段接收装置。但一般未满两年这些锅体便因严重锈蚀而纷纷解体,以致无信号是正值还是负值,末级管都有电流流过。单管甲类工作集电极电流波形见图3。以正弦波为例,静态电流为正弦波峰值即Io=lf,最大电流为2倍波峰值即Imax=21f=2I.这样的静态电流设置可保证整个信号周期内三极管都有电流流过。要求功放输出功率,必须求出输出电流有效值。电流有效值见图3所示。
输出电流波形阴影部分面积之和等效值:

每个管子甲类输出功率为P甲1=I02Z(Z为输出阻抗)。NPN和PNP两个末级管总输出甲类功率为P甲2=2P甲1=2I02Z.一般音箱阻抗为Z=8Ω。公式简化为P甲2=2I02Z8=16I02z.
通过上式可知计算出某台甲类功放的输出功率。该功放静态电流为1.6A,P甲2=16I02Z=16X1.62=40.96(W)。文章所说40W/8Ω甲类输出功率是可信的。

图3 单管甲类工作集电极电流波形
[page]
8Ω负载甲类输出功率与静态电流见表1。

表1 8Ω负载甲类输出功率与静态电流
以Io为变化量。P甲2的曲线见图4,是一条抛物线。

图4 P甲2的曲线
甲类功放变压器配备:最大电流Imax=2I0,电源供给功率为P供=2VImax=4VIo,变压器容量S应大于P供,一般取S=1.2P供即可?;挂陨侠扑悖琕=32V,10=1.6A,P供=4VI=4x32x1.6=204.8(W)。S1=1.2P供=1.2x204.8=245.76(W)。这是一个声道变压器容量。如果2个声道合用1个变压器,则变压器容量S2=2S1=2x245.76=491.52W.文章配500w变压器是合理的。
甲类功放供电电压确定:供电电压与负载所要求功率有关。P=U2/2,U=√PZ,音箱阻抗为8Ω,公式简化为V1=√8P=2.83√P.40W甲类功放当阻抗为8Ω时,两端电压为V2=2.83√40=17.9(V)。最大电压按最大电流为2倍静态电流推算,应为17.9x2=36V.所以40W甲类输出电压最好是正负36V.用±32供电稍低,不同甲类功放输出功率与电压对应值见下表。这个电压为最佳值,太大损耗大,太小动态受影响。
甲类功放效率分析:有效功率P1=IoIoZ。电源输出功率为P2=2VIo,效率η=P1/P2=IoI.8/2VIo=IoIo.8/2VIo=4lo/V.从上面公式可知电压越高效率越低。甲类功放电压不能太低也不能太高,太低影响动态效应,太高影响效率。以1.6A 32V,40W甲类输出为例,计算效率11=4×1.6/32×100%=20%.所以甲类功放效率很低。各种甲类功放因输出功率不同而效率不同,见表2。甲类效率最高的是40W功率功放。

表2 各种甲类功放因输出功率不同而效率不同




